МПК B65D 30/24; 30/26
Кряжич О.О., Коваленко О.В., Кременовська І.В.
Пакувальний пакет для сипучих гігроскопічних матеріалів
Корисна модель належить до багатошарових мішків та пакетів з плівки, що мають клапан та призначені для видачі, перенесення та зберігання сипучих гігроскопічних матеріалів, як то сухого корму та гігієнічних наповнювачів для тварин, миючих засобів, нетоксичних хімічних реактивів, дрібних або гранульованих будівельних матеріалів.

Рівень техніки
У роботі та побуті користувачі часто стикаються з тим, що економічно вигідні у придбанні пакети різноманітних сипучих та гранульованих продуктів, як то – сухий корм для тварин, пральні порошки, різноманітні нетоксичні лабораторні речовини, будівельні матеріали, мінеральні добрива та інш., стають економічно витратними через те, що швидко псуються після розпакування та часткового використання. Продукти в розкритому пакеті стикаються з повітрям та вологою, в результаті чого комкуються або руйнуються. Як правило, таку продукцію приходиться пересипати у ємності, що міцно закриваються або защипувати та зав’язувати відкриту горловину пакета. Проте це, зазвичай, проблему не вирішує, оскільки зовнішня упаковка перелічених продуктів виготовляється у вигляді міцного поліетиленового пакету, який важко зв’язати або защипнути.
Більшість виробників сипучих гігроскопічних продуктів використовує звичайні поліетиленові або паперові пакети з клапаном або без, які мають на верхньому краї прорізні або пришивні ручки. Наприклад, пакети «Трейд Пак» мають відрізний клапан, а після відсипання речовини з пакету верхній край просто згортається та затискується звичайною побутовою защіпкою. Пакети для наповнювачів типу «банан» складаються з двох аркушів поліетилену, спаяних по шву з прорізаними на верхньому краї ручками. Такими пакетами для упакування користуються більшість виробників різноманітної сипучої, гранульованої гігроскопічної продукції. При розкриванні пакету ручки знищуються. Зав’язати такий пакет міцно дуже важко і з різних причин його часто перевертають та розсипають наповнювач або корм, якщо з пакета продукт не був пересипаний у ємність, що міцно закривається.
Існуючі розробки «Пластиковий мішок для тонкоподрібнених порошків» та «Пакувальний пакет з плівки» більше призначені для зручного транспортування сипучих продуктів до кінцевого споживача. Друга розробка має особливість, що дозволяє запакувати гігроскопічний продукт з мінімальною кількістю повітря, проте після розпакування ця властивість не зберігається. Винахід має зручну ручку для транспортування і жолоб з клапаном для насипання та застібку-блискавку для багаторазового використання, але при потраплянні частинок речовини з пакету така застібка швидко стає непридатною для вживання, як і будь-які вакуумні застібки чи застібки-липучки.
Патент України «Упаковка для продукту, зокрема прального порошку» являє собою ємність з паперу з ручкою, що охоплює зовні паперовий пакет. Паперовий пакет можна щільно згорнути зверху, при цьому ручка не знищується і дозволяє легко транспортувати заповнений пакет. Проте паперовий пакет не зберігає від вологи, а щільна згортка горловини після декількох розгортань псується.
Жодна з представлених моделей пакувального пакету для сипучих гігроскопічних продуктів не забезпечує після розпакування пакету одночасно збереження від потрапляння вологи, легкого багаторазового використання без розсипання матеріалу і зручного перенесення з місця на місце.
Суть корисної моделі
Завданням корисної моделі є створення пакувального пакету для сипучих гігроскопічних матеріалів, що дозволяє довго зберігати гігроскопічний матеріал після розпаковування зі збереженням всіх властивостей.
Задача створення реалізується шляхом створення пакету з двох шарів поліетилену, де зовнішній шар є міцним, з прорізною ручкою, та додаткового внутрішнього шару – тонкого поліетиленового пакету з зав’язкою, що йде по верхньому краю. Цей внутрішній пакет має у довжину розмір більший, ніж зовнішній пакет, завдяки чому утворює горловину-клапан, через яку зручно насипати гігроскопічний матеріал, а після насипання є можливість згорнути горловину, утворивши клапан, що обмежує доступ повітря і вологи, та міцно зав’язати горловину.
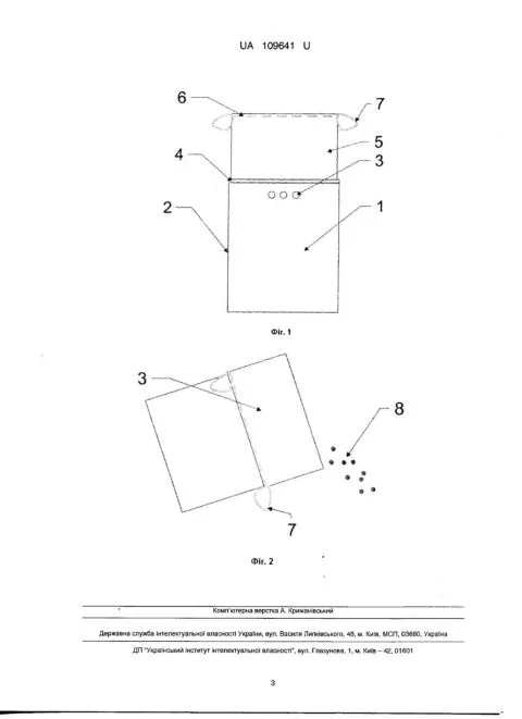
На фіг. 1 представлено загальний вигляд пакету типу «банан», що складається з аркуша поліетилену – 1, спаяного по боковим швам – 2. З обох боків вгорі є дві прорізні укріплені ручки у вигляді трьох отворів для пальців – 3. У продаж такий пакет поступає запаяним швом – 4 по верхньому краю. Запаяний шов має відстань від краю не більше 1 см, легко зрізується або відривається по перфорації, при цьому ручки не знищуються.

Після зрізання шву – 4, дістається та розгортається горловина-клапан – 5 другого (внутрішнього) шару упаковки. Внутрішній шар припаяний до зовнішнього пакету по боковим швам до середини пакету, нижче ручок – 3. Горловина-клапан має по своєму верхньому краю припаяний в декількох місцях загин – 6, зі вдягнутою туди ковзною зав’язкою – 7, завдяки якій цю горловину можна міцно зв’язати, утворивши клапан герметичної упаковки. Цю упаковку легко можна переносити з місця на місце за ручки – 3, як звичайний побутовий поліетиленовий пакет.
Горловина завертається (фіг. 2) за прорізні ручки – 3, розправляється, за необхідності фіксується зав’язкою – 7, в результаті чого частинки сипучого матеріалу – 8 не просипаються зовні при насипанні у ємності для використання. При насипанні у ємність горловина-клапан затягується до необхідного розміру зав’язками – 7, та розміщується у горловині ємності (або фіксується зав’язками на горловині ємності), після чого пакет перехиляється і сипучий гігроскопічний матеріал пересипається у необхідній кількості у ємність.
Таким чином, корисна модель дозволяє: створити зручну в експлуатації конструкцію; зберігати сипучі гігроскопічні матеріали від впливу вологого повітря і води; створити зручну для перенесення упаковку; підвищити споживчі якості упаковки та унебезпечити псування сипучого гігроскопічного матеріалу після розкриття упаковки.